Предзаказ
Основные характеристики
Артикул
УФМ.06L
Лампа среднего давления
Да
Максимальный проток воды, м³/ч
24
Мощность УФ, Вт
600
Срок службы лампы, ч
5000
Датчик потока
Есть
Предзаказ
Артикул
УФМ.06L
Лампа среднего давления
Да
Максимальный проток воды, м³/ч
24
Мощность УФ, Вт
600
Срок службы лампы, ч
5000
Датчик потока
Есть
Ультрафиолетовая установка обеззараживания воды UVM-300 Lite имеет производительность 12 м3/час и предназначена для частных и общественных бассейнов, зон гидромассажа и джакузи, где используется хлор. За счет применения в этих установках широкодиапазонных ультрафиолетовых ламп среднего давления, кроме уничтожения вирусов и бактерий, они способны снижать концентрацию содержащегося в воде связанного хлора (соединений группы хлораминов).
Установлено, что ультрафиолетовое излучение с длиной волны в диапазоне 300-400 нм эффективно для разрушения хлораминов. С этой задачей успешно справляются лампы среднего давления, излучающие УФ в спектре 200-400 нм. Лампы низкого давления, 95% излучения которых приходится на узкую часть диапазона с длиной волны 253,7 нанометров, имеют существенно меньшую эффективность при воздействии на хлорамины.
Именно способность комплексно воздействовать на обрабатываемую воду, одновременно с обеззараживанием разрушая соединения связанного хлора, выгодно отличает системы UVM-300 Lite от моделей на основе ламп низкого давления. Установки с лампами среднего давления способны обеспечить уровень содержания в воде общественных бассейнов хлораминов до 0,2 мг/л – значения, регламентированного действующими санитарными правилами (СП 2.1.3678-20).
Ультрафиолетовая установка обеззараживания воды Xenozone UVM-600 Lite имеет производительность 24 м3/час и предназначена для частных и общественных бассейнов, зон гидромассажа и джакузи, где используется хлор. За счет применения в этих установках широкодиапазонных ультрафиолетовых ламп среднего давления, кроме уничтожения вирусов и бактерий, они способны снижать концентрацию содержащегося в воде связанного хлора (соединений группы хлораминов).
Установлено, что ультрафиолетовое излучение с длиной волны в диапазоне 300-400 нм эффективно для разрушения хлораминов. С этой задачей успешно справляются лампы среднего давления, излучающие УФ в спектре 200-400 нм. Лампы низкого давления, 95% излучения которых приходится на узкую часть диапазона с длиной волны 253,7 нанометров, имеют существенно меньшую эффективность при воздействии на хлорамины.
Именно способность комплексно воздействовать на обрабатываемую воду, одновременно с обеззараживанием разрушая соединения связанного хлора, выгодно отличает системы UVM-600 Lite от моделей на основе ламп низкого давления. Установки с лампами среднего давления способны обеспечить уровень содержания в воде общественных бассейнов хлораминов до 0,2 мг/л – значения, регламентированного действующими санитарными правилами (СП 2.1.3678-20).
Расходный элемент
Ртутная лампа среднего давления 600 Вт - 1 шт.
Срок службы УФ-лампы - 5000 часов (около 7 месяцев) в режиме непрерывной эксплуатации.
Особенности конструкции
Все корпусные детали установки UVM-600 Lite выполнены из нержавеющей стали марки AISI 316, более стойкой к агрессивным воздействиям по сравнению с наиболее широко применяемой в бассейнах AISI-304. Установленная внутри корпуса лампа среднего давления при скорости протока воды, соответствующей паспортной производительности установки, обеспечивает необходимую для снижения концентрации хлораминов дозу облучения не менее 60 мДж/см2.
Обратите внимание, что модели серии Lite, в отличие от стандартной комплектации UVM-600, не оснащены датчиком УФ излучения и блоком промывки кварцевых чехлов.
Важным преимуществом конструкции УФ систем данного модельного ряда являются компактные габариты, связанные с небольшими размерами применяемых в них ламп среднего давления. Эта особенность позволяет без проблем вписать установку UVM-600 Lite практически в любое сервисное помещение, а также снижает риски повреждения чехлов/ламп при их замене.
Кроме того, высокая мощность и плотность УФ-излучения ламп среднего давления уменьшает количество ламп, необходимых для обеспечения заданной мощности. В результате установка XENOZONE UVM содержит всего одну лампу, что в отличие от многоламповых конструкций установок с лампами низкого давления, существенно сокращает трудоемкость и затраты времени при замене ламп.
Комплект поставки
В состав поставки установок модели UVM-600 Lite входят следующие узлы и комплектующие:
УФ-реактор - 1 шт
Шкаф питания со счетчиком наработки времени - 1 шт
Датчик протока - 1 шт
Датчик температуры - 1 шт
Кронштейн с крепежом для монтажа на стену - 1 шт
Переход ПВХ 2 1/2” ВР под вклейку д.75 - 2 шт
Паспорт и руководство по эксплуатации - 1 шт
Упаковка (деревянная тара) - 1 шт
Основные технические характеристики:
Производительность (объем воды, обрабатываемый за единицу времени): 24 м3/час
Доза ультрафиолетового облучения: 60 мДж/см2
Общая электрическая мощность установки: 600 Вт
Количество и тип установленных ламп: 1 шт., ртутная, среднего давления
Срок службы ламп: 5000 часов
Температурный диапазон обработки воды: от +5°C до +45°C
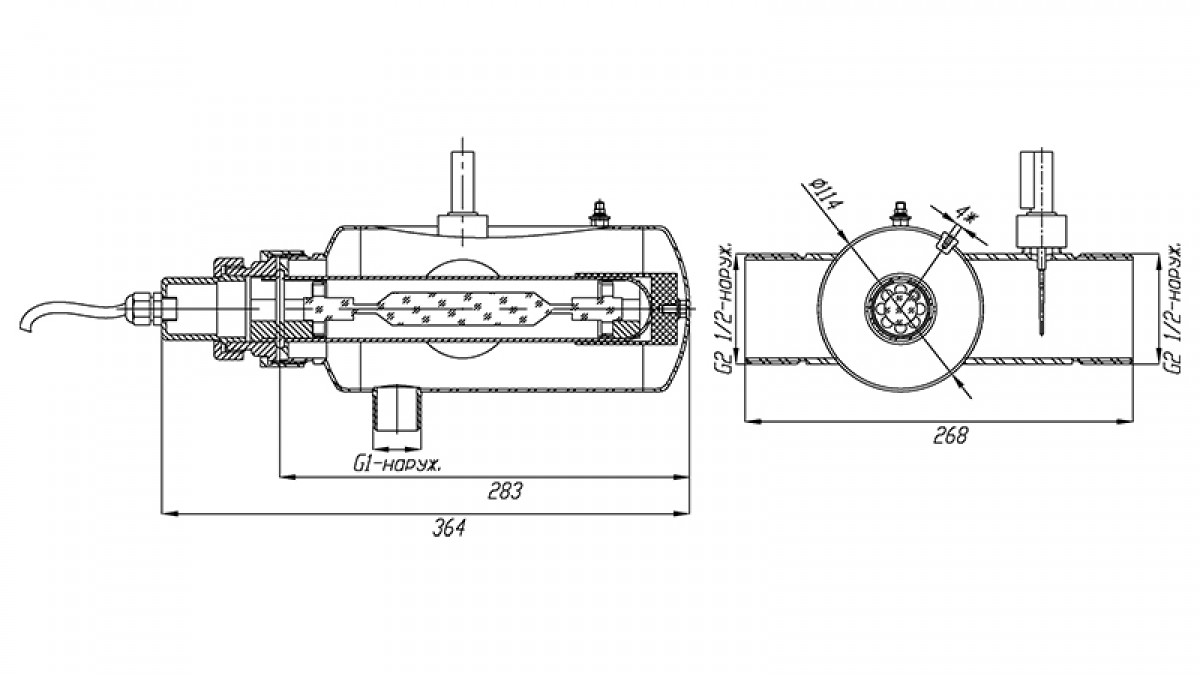
Материал и габариты корпуса установки: сталь AISI-316, 268х364х192 мм
Габариты блока управления: 500х400х200 мм
Присоединение к трубопроводу: наружная резьба 2 ½ дюйма
Максимальное давление воды: до 6 атм
Условия эксплуатации и требования к техническому помещению
УФ установки модельного ряда UVM не предназначены для использования в бассейнах и аквапарках с морской водой и установленными электролизерами. Их монтаж, подключение и обслуживание следует производить в строгом соответствии с требованиями, изложенными в техническом паспорте изделия.
Порядок и условия покупки
Приняв решение купить установку UVM-600 Lite на условиях самовывоза с нашего склада или с доставкой в нужный вам город России и СНГ, свяжитесь с нашими менеджерами по телефону, через WhatsApp или по электронной почте
Лампа среднего давления
Да
Максимальный проток воды, м³/ч
24
Мощность УФ, Вт
600
Срок службы лампы, ч
5000
Датчик потока
Есть
Оставляйте заявку и наши менеджеры представят вам анализ вашего запроса и варианты реализации вашей задумки.